首页
专利数据库
产业人才
行业动态
产业政策法规
维权援助
个人中心
登录/注册
详情
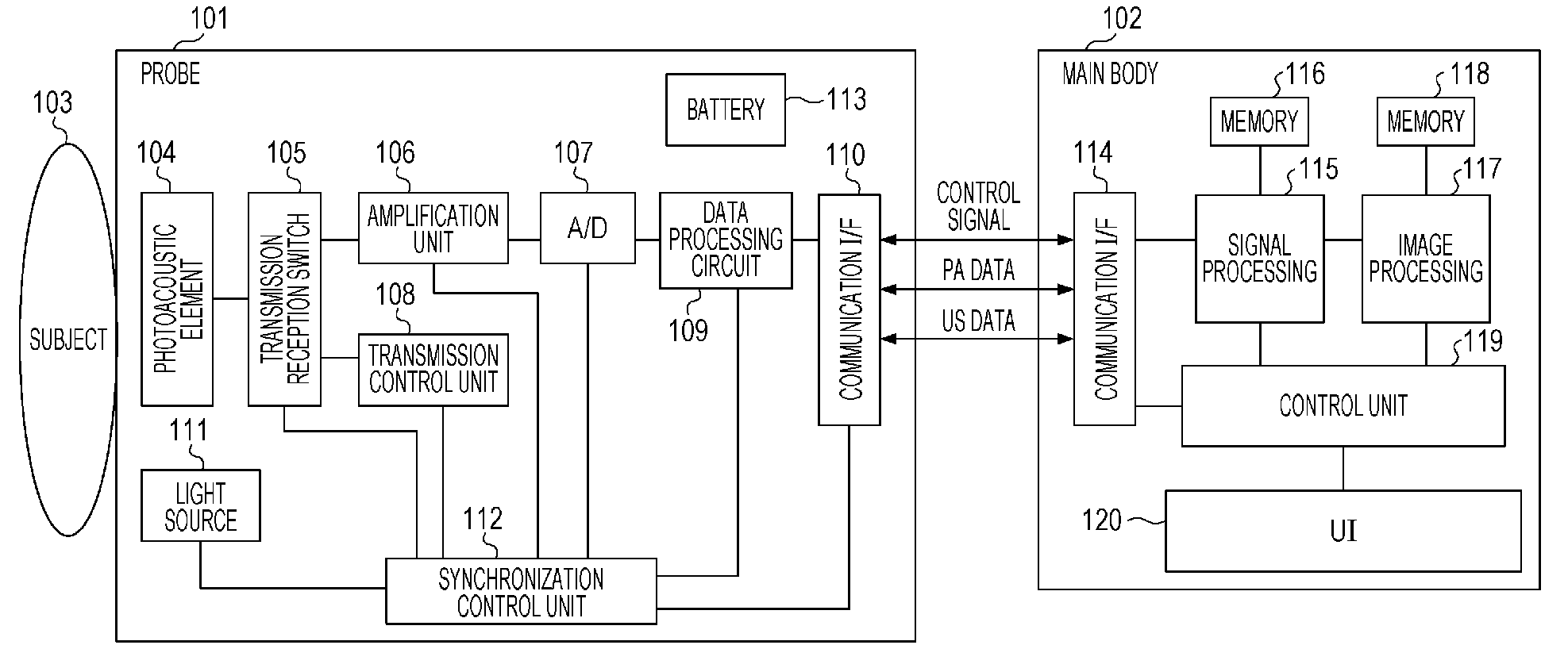
文本
图像
标题:
Ultrasonic probe and photoacoustic apparatus including the ultrasonic probe
授权日:
1900-01-01
公开(公告)号:
EP3449817A1
申请日:
2018-08-29
公开(公告)日:
2019-03-06
当前申请(专利权)人:
CANON KABUSHIKI KAISHA
发明人:
SUZUKI, KOICHI | ABE, NAOTO
简单同族:
CN109419532A | EP3449817A1 | JP2019041831A | US20190059738A1
简单同族成员数量:
4
简单同族被引用专利总数:
0
诉讼案件数:
0
法律状态/事件:
公开