首页
专利数据库
产业人才
行业动态
产业政策法规
维权援助
个人中心
登录/注册
详情
文本
图像
标题:
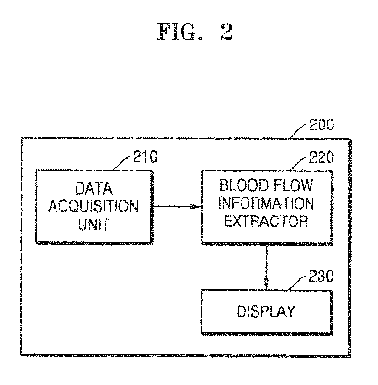
Ultrasound diagnosis apparatus and method of operating the same
授权日:
1900-01-01
公开(公告)号:
EP3045116A1
申请日:
2015-07-06
公开(公告)日:
2016-07-20
当前申请(专利权)人:
SAMSUNG MEDISON CO., LTD.
发明人:
KIM, JI-HAN | LEE, JAE-KEUN
简单同族:
EP3045116A1 | KR1020160087221A | US20160199022A1
简单同族成员数量:
3
简单同族被引用专利总数:
0
诉讼案件数:
0
法律状态/事件:
撤回