首页
专利数据库
产业人才
行业动态
产业政策法规
维权援助
个人中心
登录/注册
详情
文本
图像
标题:
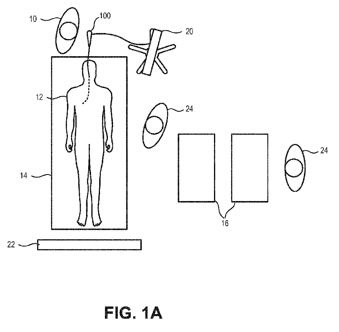
Endobronchial ultrasound imaging
授权日:
1900-01-01
公开(公告)号:
EP3662842A1
申请日:
2019-11-14
公开(公告)日:
2020-06-10
当前申请(专利权)人:
VERATHON, INC.
发明人:
WATERS, KENDALL R. | GALVIN, MOIRA
简单同族:
AU2019264681A1 | CA3061773A1 | EP3662842A1 | US20200178788A1
简单同族成员数量:
4
简单同族被引用专利总数:
0
诉讼案件数:
0
法律状态/事件:
公开