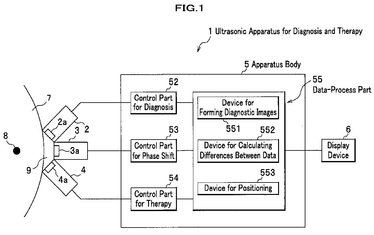
标题:
Ultrasonic apparatus for diagnosis and therapy
授权日:
1900-01-01
公开(公告)号:
EP1723911A1
申请日:
2006-01-23
公开(公告)日:
2006-11-22
当前申请(专利权)人:
HITACHI, LTD.
发明人:
KAWABATA, KENICHI HITACHI, LTD. IP OFFICE | SUGITA, NAMI HITACHI, LTD. IP OFFICE | UMEMURA, SHINICHIRO
简单同族:
CN100446732C | CN1864636A | EP1723911A1 | EP1723911B1 | JP2006320405A | JP2006320405A5 | JP4630127B2 | US20070016042A1 | US7824336
简单同族成员数量:
9
简单同族被引用专利总数:
57
诉讼案件数:
0
法律状态/事件:
权利终止