首页
专利数据库
产业人才
行业动态
产业政策法规
维权援助
个人中心
登录/注册
详情
文本
图像
标题:
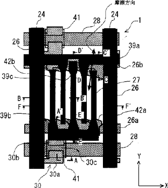
采用横向电场的有源矩阵寻址液晶显示装置
授权日:
1900-01-01
公开(公告)号:
CN1434338A
申请日:
2003-01-10
公开(公告)日:
2003-08-06
当前申请(专利权)人:
NLT科技股份有限公司
发明人:
松本公一 | 半贯贵久
简单同族:
CN1221845C | CN1434338A | JP2003207803A | JP4047586B2 | KR100512896B1 | KR1020030061352A | TW200301840A | TW594335B | US20030128323A1 | US6862067
简单同族成员数量:
10
简单同族被引用专利总数:
139
诉讼案件数:
0
法律状态/事件:
授权 | 权利转移