标题:
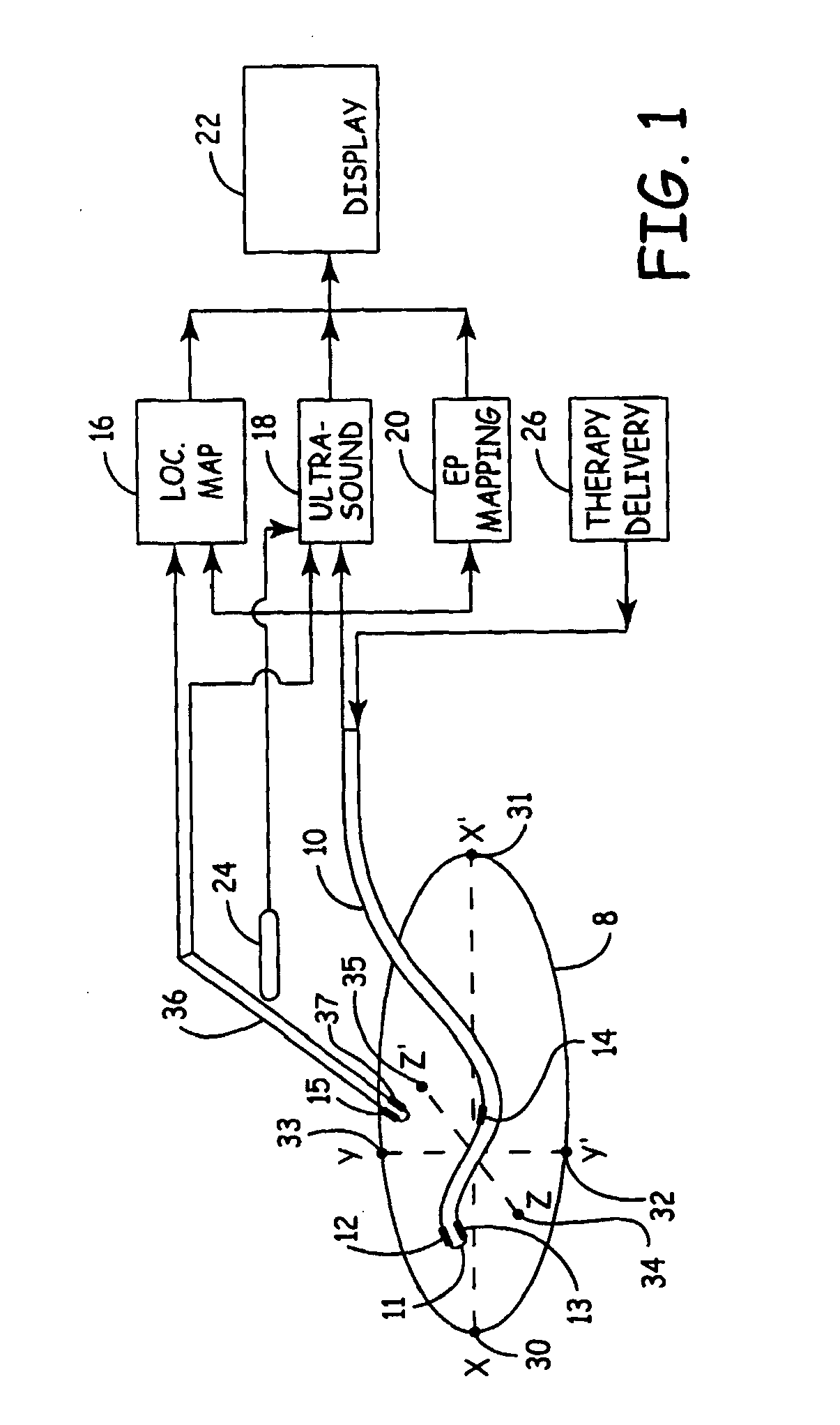
System for superimposing an electrically mapped location of an electrode onto a corresponding ultrasound image
授权日:
2012-12-12
公开(公告)号:
EP1778092B1
申请日:
2005-06-22
公开(公告)日:
2012-12-12
当前申请(专利权)人:
MEDTRONIC, INC.
发明人:
FEREK-PETRIC, BOZIDAR
简单同族:
CA2569740A1 | EP1778092A1 | EP1778092B1 | US20050288586A1 | US7850610 | WO2006004699A1
简单同族成员数量:
6
简单同族被引用专利总数:
113
诉讼案件数:
0
法律状态/事件:
权利终止