首页
专利数据库
产业人才
行业动态
产业政策法规
维权援助
个人中心
登录/注册
详情
文本
图像
标题:
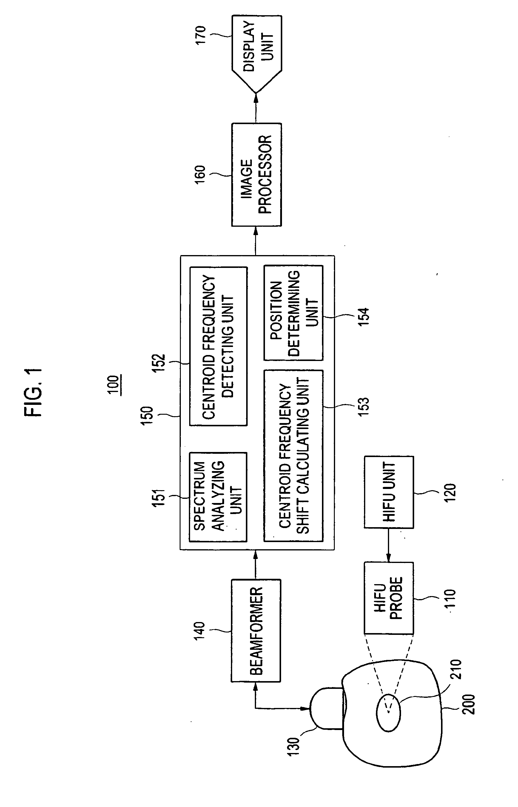
Ultrasound diagnostic system of detecting a lesion
授权日:
2012-07-11
公开(公告)号:
EP1803403B1
申请日:
2006-12-27
公开(公告)日:
2012-07-11
当前申请(专利权)人:
SAMSUNG MEDISON CO., LTD.
发明人:
KWON, SUNG JAE | YOON, RA YOUNG
简单同族:
EP1803403A2 | EP1803403A3 | EP1803403B1 | JP2007181698A | KR100932472B1 | KR1020070069322A | US20070167774A1
简单同族成员数量:
7
简单同族被引用专利总数:
25
诉讼案件数:
0
法律状态/事件:
授权 | 权利转移