首页
专利数据库
产业人才
行业动态
产业政策法规
维权援助
个人中心
登录/注册
详情
文本
图像
标题:
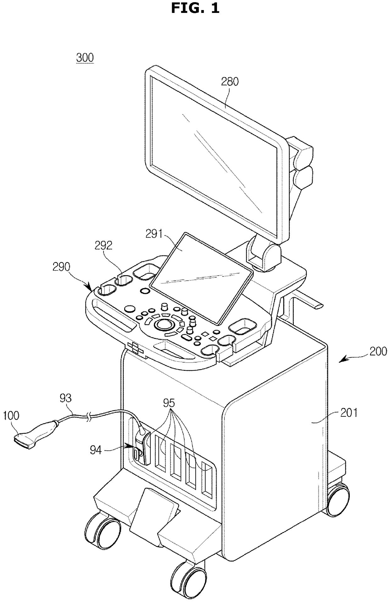
Ultrasonic diagnostic apparatus and method for controlling the same
授权日:
1900-01-01
公开(公告)号:
EP3381373A1
申请日:
2017-12-12
公开(公告)日:
2018-10-03
当前申请(专利权)人:
SAMSUNG MEDISON CO., LTD.
发明人:
PARK, JIN KI | KIM, JONG SIK | LEE, JIN YONG
简单同族:
EP3381373A1 | KR1020180097270A | US20180235580A1
简单同族成员数量:
3
简单同族被引用专利总数:
0
诉讼案件数:
0
法律状态/事件:
公开