标题:
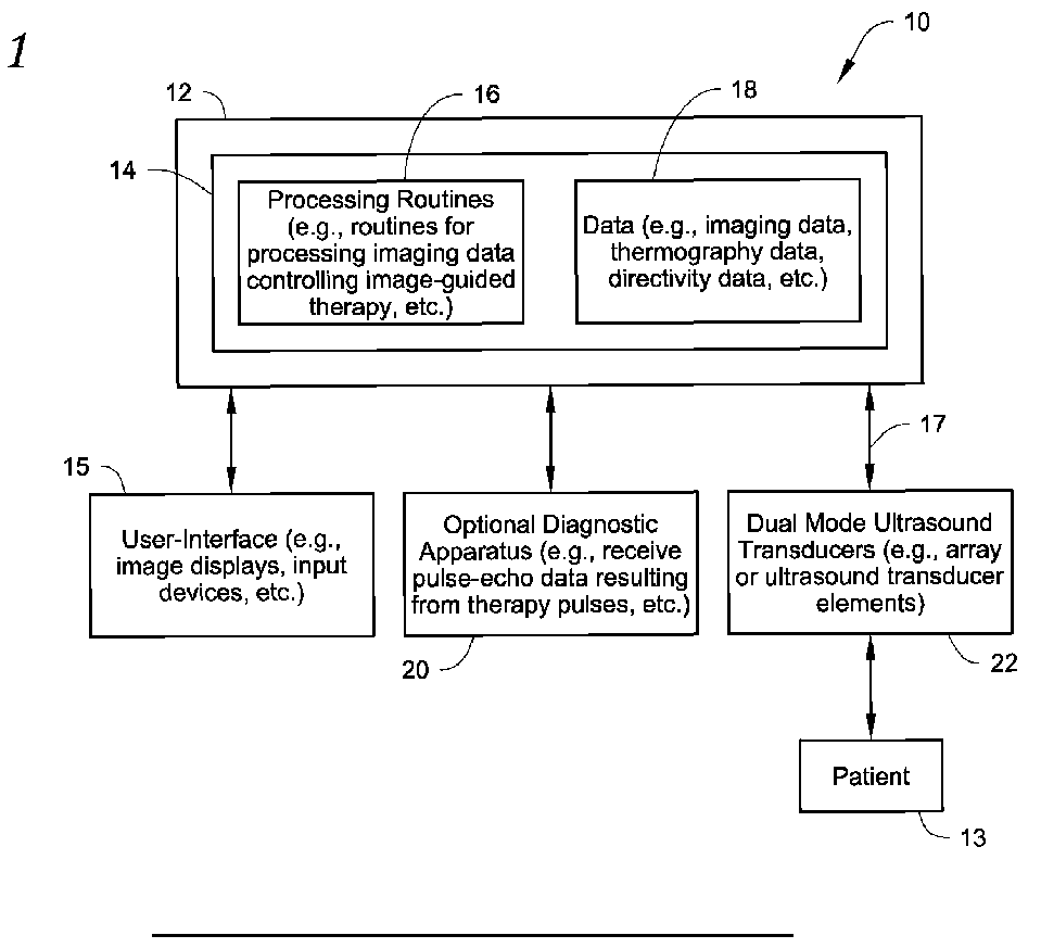
Dual mode ultrasound transducer (DMUT) system and method for controlling delivery of ultrasound therapy
授权日:
1900-01-01
公开(公告)号:
EP3406299A1
申请日:
2011-06-09
公开(公告)日:
2018-11-28
当前申请(专利权)人:
REGENTS OF THE UNIVERSITY OF MINNESOTA
发明人:
EBBINI, EMAD S. | CASPER, ANDREW J. | LIU, DALONG | BALLARD, JOHN R.
简单同族:
EP2579944A2 | EP2579944B1 | EP3406299A1 | KR101875203B1 | KR101999078B1 | KR1020130106345A | KR1020180080357A | US10231712 | US20130144165A1 | US20190269385A1 | WO2011156624A2 | WO2011156624A3
简单同族成员数量:
12
简单同族被引用专利总数:
76
诉讼案件数:
0
法律状态/事件:
公开