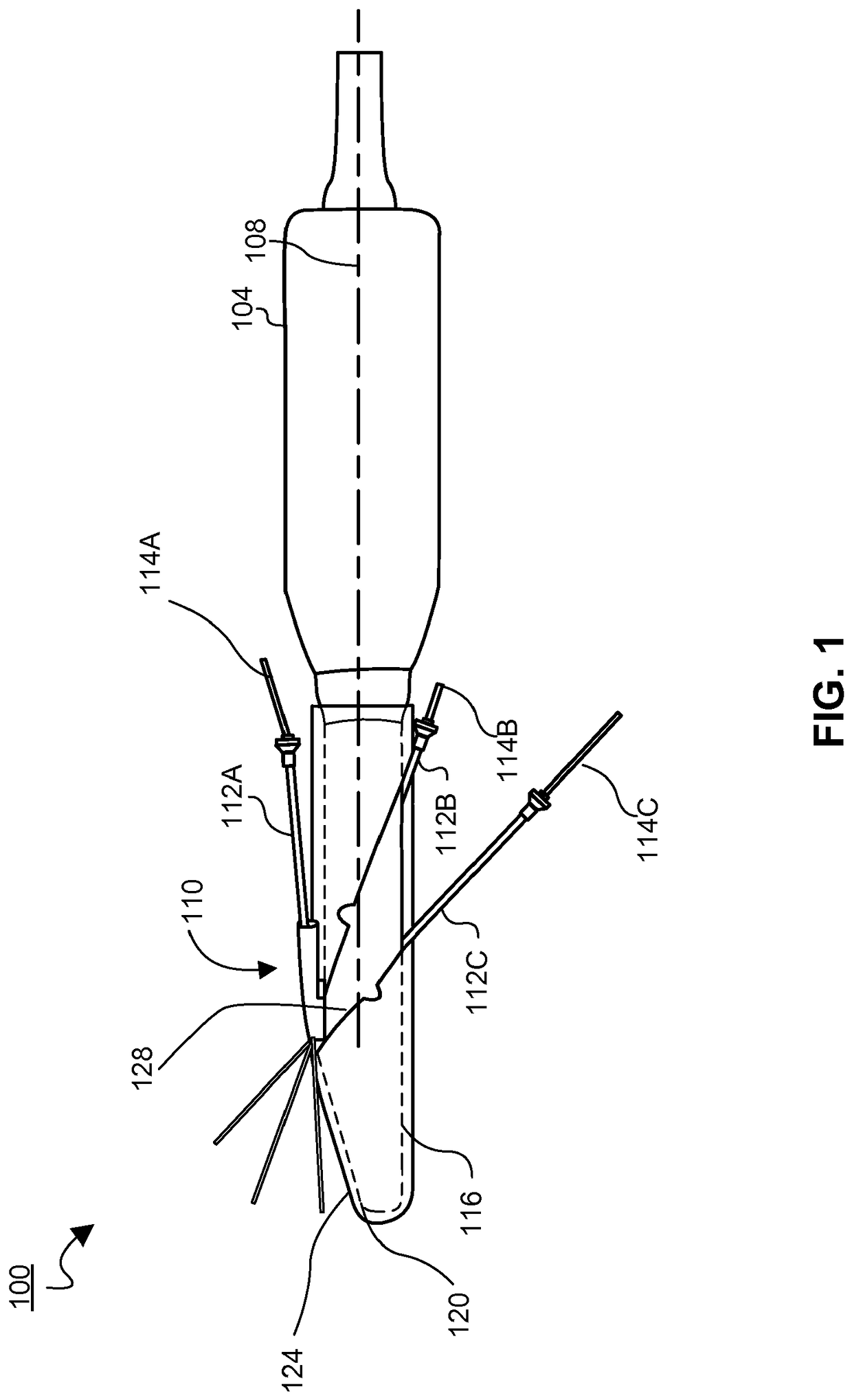
标题:
Ultrasonic probe and aligned needle guide system
授权日:
2018-04-11
公开(公告)号:
EP2872045B1
申请日:
2013-07-10
公开(公告)日:
2018-04-11
当前申请(专利权)人:
FUJIFILM VISUALSONICS, INC.
发明人:
CHAGGARES, NICHOLAS, CHRISTOPHER | RIEDER, ERIC MICHAEL
简单同族:
CA2878789A1 | CA2878789C | CN104918555A | CN104918555B | EP2872045A2 | EP2872045A4 | EP2872045B1 | HK1214937A | HK1214937A1 | JP2015521932A | JP2015521932A5 | JP2017205660A | JP2018061862A | JP6315739B2 | JP6657273B2 | US10130338 | US20140018667A1 | US20160038118A1 | US20170252005A1 | US20180125453A1 | US9113825 | US9655591 | WO2014009810A2 | WO2014009810A3
简单同族成员数量:
24
简单同族被引用专利总数:
23
诉讼案件数:
0
法律状态/事件:
授权