标题:
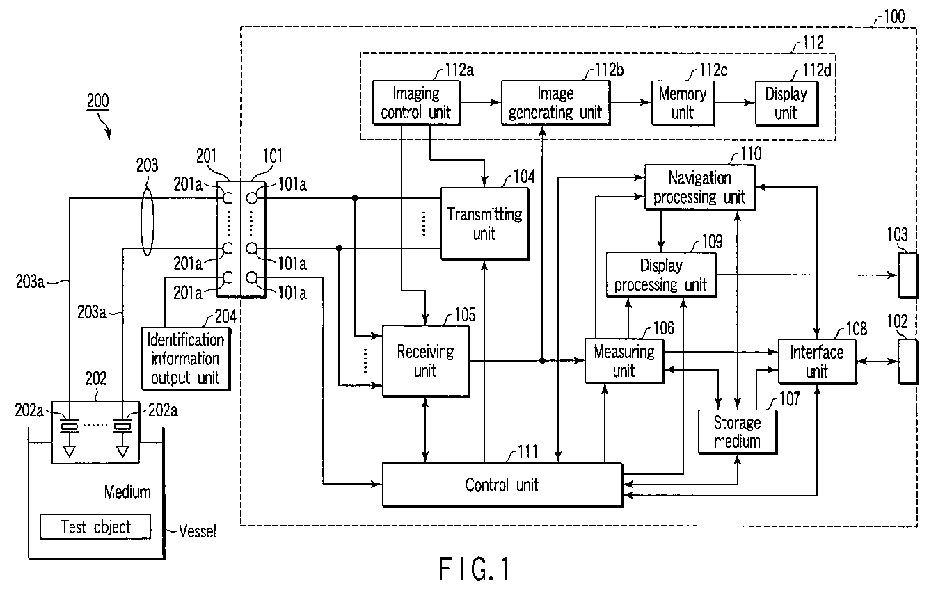
Ultrasound probe diagnosing apparatus, ultrasound diagnostic apparatus, and ultrasound probe diagnosing method
授权日:
1900-01-01
公开(公告)号:
EP1785095A1
申请日:
2005-08-29
公开(公告)日:
2007-05-16
当前申请(专利权)人:
KABUSHIKI KAISHA TOSHIBA | TOSHIBA MEDICAL SYSTEMS CORPORATION
发明人:
KUMAZAWA, TAKASHI C/O INTELL. PROPERTY DIV.
简单同族:
DE602005004338D1 | DE602005004338T2 | DE602005007753D1 | DE602005010449D1 | DE602005014490D1 | DE602005016971D1 | DE602005017308D1 | DE602005018377D1 | EP1629779A1 | EP1629779B1 | EP1785095A1 | EP1785095B1 | EP1785095B9 | EP1787586A1 | EP1787586B1 | EP1787587A1 | EP1787587B1 | EP1792572A1 | EP1792572B1 | EP1792572B8 | EP1839579A1 | EP1839579B1 | EP1839580A1 | EP1839580B1 | US20060052703A1 | US20110265570A1 | US20110265571A1 | US20110271762A1 | US20110271763A1 | US20110275937A1 | US8758254 | US9204863 | US9237882 | US9307959 | US9364198 | US9445788
简单同族成员数量:
36
简单同族被引用专利总数:
21
诉讼案件数:
0
法律状态/事件:
授权