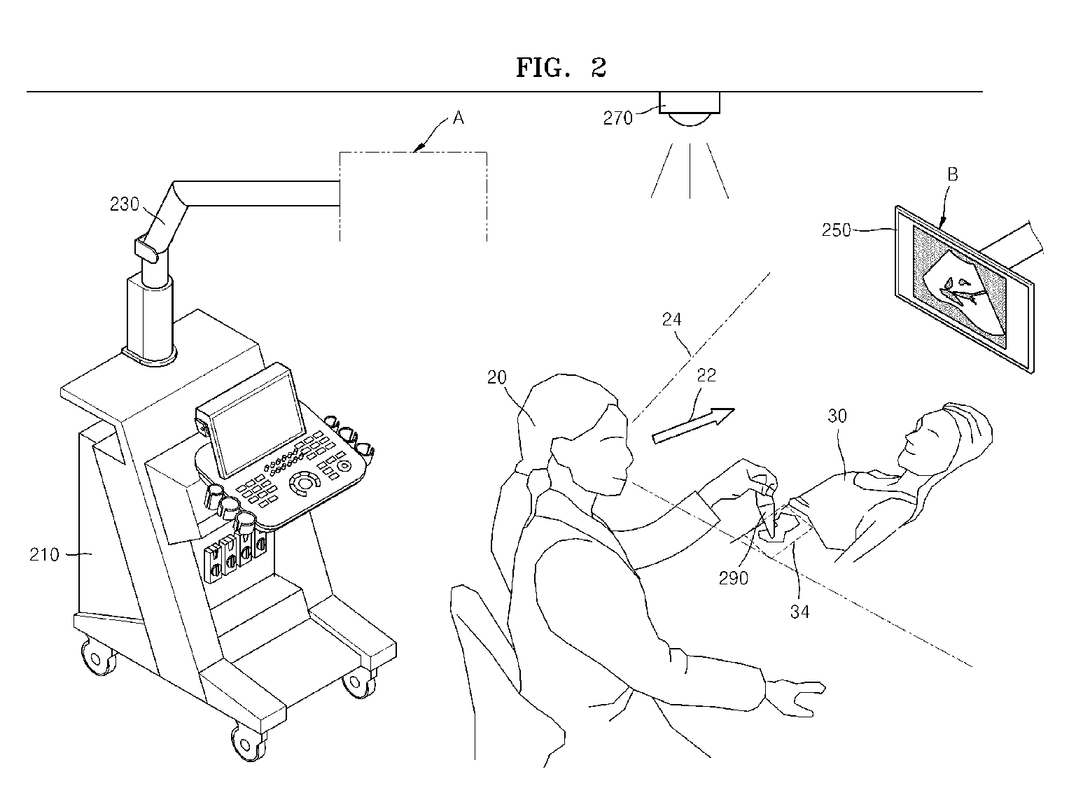
标题:
Method of moving the displays of an ultrasound diagnostic device and ultrasound diagnostic device
授权日:
1900-01-01
公开(公告)号:
EP2818118A1
申请日:
2014-06-26
公开(公告)日:
2014-12-31
当前申请(专利权)人:
SAMSUNG ELECTRONICS CO., LTD.
发明人:
HAN, JEONG-HO | YANG, EUN-HO
简单同族:
EP2818118A1 | EP2818118B1 | KR101566198B1 | KR1020150002293A | US20150002490A1 | WO2014209003A1
简单同族成员数量:
6
简单同族被引用专利总数:
23
诉讼案件数:
0
法律状态/事件:
授权