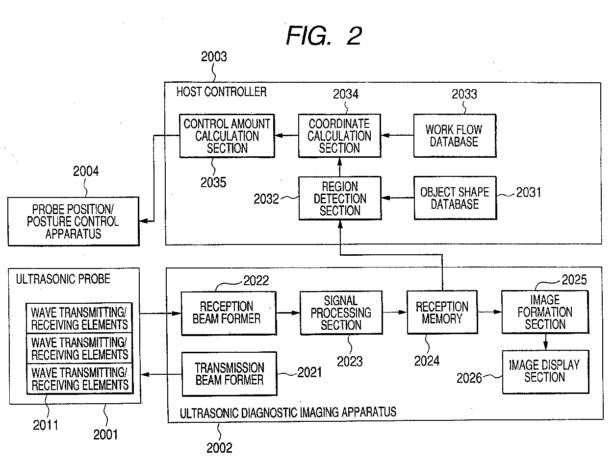
标题:
Ultrasonic diagnostic imaging system and control method thereof
授权日:
1900-01-01
公开(公告)号:
EP2567660A3
申请日:
2008-08-13
公开(公告)日:
2013-05-01
当前申请(专利权)人:
CANON KABUSHIKI KAISHA
发明人:
ISHIKAWA, RYO | KATAYAMA, AKIHIRO
简单同族:
EP2185077A1 | EP2185077B1 | EP2567660A2 | EP2567660A3 | JP2009056125A | JP5127371B2 | US20110246129A1 | US20140228689A1 | US20150265254A1 | US8756033 | WO2009028354A1
简单同族成员数量:
11
简单同族被引用专利总数:
94
诉讼案件数:
0
法律状态/事件:
撤回