首页
专利数据库
产业人才
行业动态
产业政策法规
维权援助
个人中心
登录/注册
详情
文本
图像
标题:
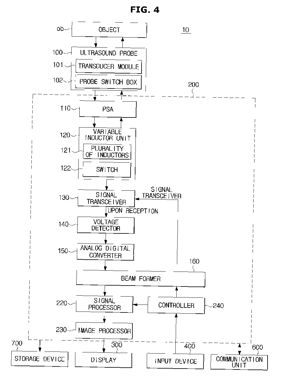
Ultrasound imaging apparatus and control method thereof
授权日:
1900-01-01
公开(公告)号:
EP3308712A1
申请日:
2017-01-30
公开(公告)日:
2018-04-18
当前申请(专利权)人:
SAMSUNG MEDISON CO., LTD.
发明人:
KIM, NAM-WOONG | HYEON, YONG-CHEOL
简单同族:
EP3308712A1 | KR1020180041507A | US20180103925A1
简单同族成员数量:
3
简单同族被引用专利总数:
0
诉讼案件数:
0
法律状态/事件:
公开