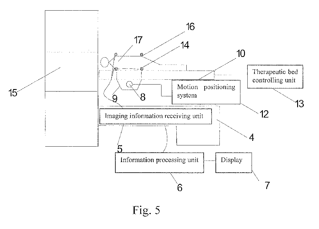
标题:
A high intensity focused ultrasound therapeutic system guided by an imaging device guided
授权日:
1900-01-01
公开(公告)号:
EP2058028A1
申请日:
2007-02-13
公开(公告)日:
2009-05-13
当前申请(专利权)人:
CHONGQING RONGHAI MEDICAL ULTRASOUND INDUSTRY LTD.
发明人:
WANG, HAI | WANG, LONG | ZHANG, LIAN | GU, YUE
简单同族:
CN100574829C | CN101130126A | EP2058028A1 | EP2058028A4 | EP2058028B1 | JP2010501214A | US20100174188A1 | WO2008025190A1
简单同族成员数量:
8
简单同族被引用专利总数:
43
诉讼案件数:
0
法律状态/事件:
授权