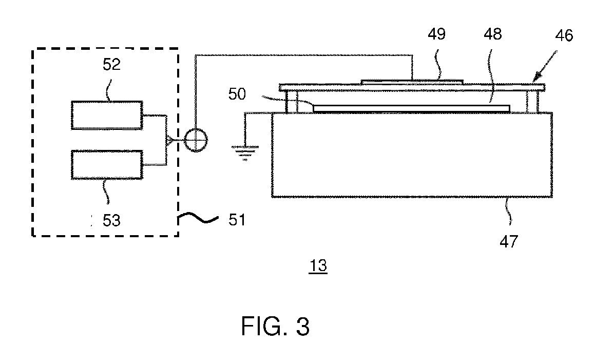
标题:
Ultrasound imaging system using an array of transducer elements and an imaging method
授权日:
1900-01-01
公开(公告)号:
EP3597313A1
申请日:
2018-07-18
公开(公告)日:
2020-01-22
当前申请(专利权)人:
KONINKLIJKE PHILIPS N.V.
发明人:
NOTTEN, MARC | DIRKSEN, PETER | DE WILD, MARCO | MAUCZOK, RUEDIGER | VAN RENS, JEANNET
简单同族:
EP3597313A1 | WO2020016323A1
简单同族成员数量:
2
简单同族被引用专利总数:
0
诉讼案件数:
0
法律状态/事件:
公开 | 权利转移