标题:
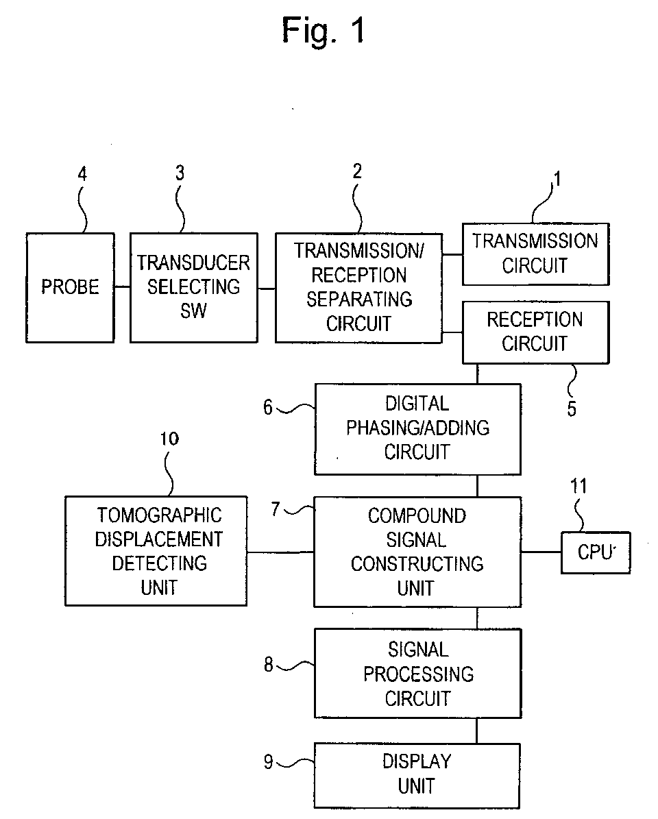
Ultrasonographic apparatus, ultrasonographic data processing method, and ultrasonographic data processing program
授权日:
1900-01-01
公开(公告)号:
EP1426010A1
申请日:
2002-09-06
公开(公告)日:
2004-06-09
当前申请(专利权)人:
HITACHI MEDICAL CORPORATION
发明人:
BABA, HIROTAKA | SATO, YUTAKA | SHINOMURA, RYUICHI | KUBOTA, JUN
简单同族:
CN100518656C | CN1553785A | EP1426010A1 | EP1426010A4 | EP1426010B1 | JP2003070786A | JP4958348B2 | US20040210137A1 | US7828731 | WO2003022153A1
简单同族成员数量:
10
简单同族被引用专利总数:
90
诉讼案件数:
0
法律状态/事件:
授权