标题:
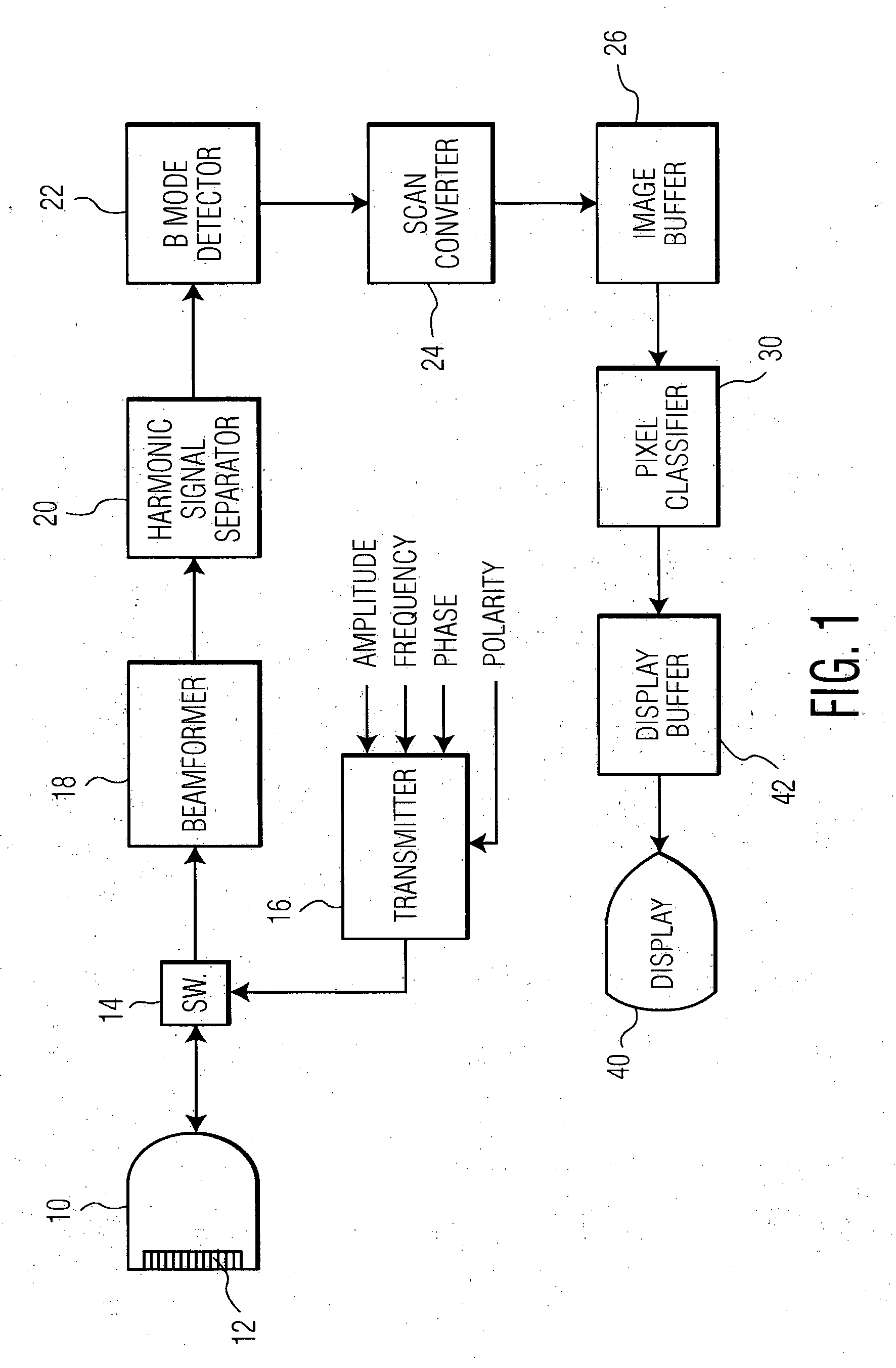
Ultrasonic diagnostic imaging system for detecting lesions of the liver
授权日:
2015-07-01
公开(公告)号:
EP1855596B1
申请日:
2006-02-16
公开(公告)日:
2015-07-01
当前申请(专利权)人:
KONINKLIJKE PHILIPS N.V.
发明人:
BRUCE, MATTHEW | POWERS, JEFFRY | GARG, ROHIT | SKYBA, DAN | AVERKIOU, MICHALAKIS
简单同族:
CN101128154A | CN101128154B | EP1855596A2 | EP1855596B1 | JP2008531082A | JP5150267B2 | KR1020070110855A | US20090124907A1 | WO2006090309A2 | WO2006090309A3
简单同族成员数量:
10
简单同族被引用专利总数:
87
诉讼案件数:
0
法律状态/事件:
授权 | 权利转移