首页
专利数据库
产业人才
行业动态
产业政策法规
维权援助
个人中心
登录/注册
详情
文本
图像
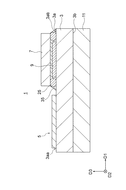
标题:
超音波デバイス
授权日:
1900-01-01
公开(公告)号:
JP2020103426A
申请日:
2018-12-26
公开(公告)日:
2020-07-09
当前申请(专利权)人:
京セラ株式会社
发明人:
浅尾 英章 | 佐藤 洋平 | 木村 郁江 | 上野 涼 | 山地 徳一
简单同族:
JP2020103426A
简单同族成员数量:
1
简单同族被引用专利总数:
0
诉讼案件数:
0
法律状态/事件:
公开