首页
专利数据库
产业人才
行业动态
产业政策法规
维权援助
个人中心
登录/注册
详情
文本
图像
标题:
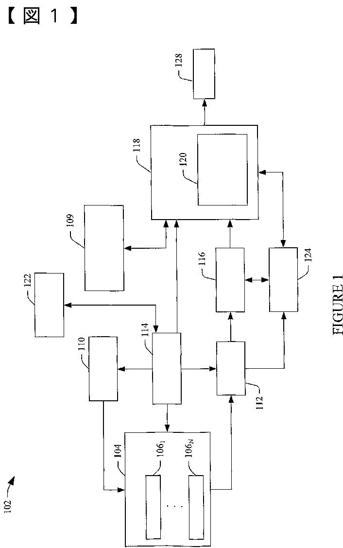
2次元超音波画像の3次元表示
授权日:
2015-01-30
公开(公告)号:
JP5688197B2
申请日:
2010-08-31
公开(公告)日:
2015-03-25
当前申请(专利权)人:
ビー-ケー メディカル エーピーエス
发明人:
バッジ、ジャン ピーター
简单同族:
EP2612165A1 | JP2013536720A | JP2013536720A5 | JP5688197B2 | US20130158405A1 | US9386964 | WO2012028896A1
简单同族成员数量:
7
简单同族被引用专利总数:
27
诉讼案件数:
0
法律状态/事件:
未缴年费