首页
专利数据库
产业人才
行业动态
产业政策法规
维权援助
个人中心
登录/注册
详情
文本
图像
标题:
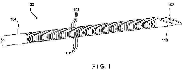
針用のエコー発生強化
授权日:
1900-01-01
公开(公告)号:
JP2012513833A
申请日:
2009-12-22
公开(公告)日:
2012-06-21
当前申请(专利权)人:
ボストン サイエンティフィック サイムド, インコーポレイテッド
发明人:
ライアン, ショーン
简单同族:
CA2747525A1 | CA2747525C | EP2384146A1 | EP2384146B1 | JP2012513833A | JP5769026B2 | US10213189 | US20100168684A1 | US20170055961A1 | US20190142397A1 | US9521993 | WO2010078151A1
简单同族成员数量:
12
简单同族被引用专利总数:
49
诉讼案件数:
0
法律状态/事件:
授权