标题:
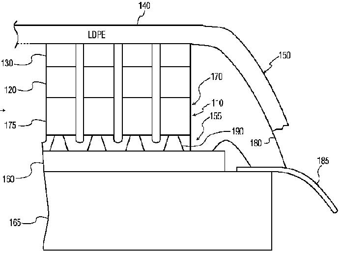
ポリエチレン第三整合層を備える広帯域マトリックストランスデューサ
授权日:
1900-01-01
公开(公告)号:
JP2009505468A
申请日:
2006-07-19
公开(公告)日:
2009-02-05
当前申请(专利权)人:
コーニンクレッカ フィリップス エレクトロニクス エヌ ヴィ
发明人:
ノウレス ヘザー | オスマン ビル | ウィルソン マーサ
简单同族:
CN101238506A | EP1915753A2 | EP1915753B1 | JP2009505468A | RU2008108989A | RU2418384C2 | US20100168581A1 | US8030824 | WO2007017776A2 | WO2007017776A3
简单同族成员数量:
10
简单同族被引用专利总数:
43
诉讼案件数:
0
法律状态/事件:
撤回