首页
专利数据库
产业人才
行业动态
产业政策法规
维权援助
个人中心
登录/注册
详情
文本
图像
标题:
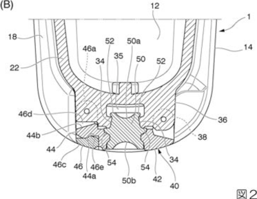
液体袋用注出入機構
授权日:
1900-01-01
公开(公告)号:
JP2016087113A
申请日:
2014-11-05
公开(公告)日:
2016-05-23
当前申请(专利权)人:
信越ポリマー株式会社
发明人:
保坂 康介 | 小川 統
简单同族:
JP2016087113A | JP6410569B2
简单同族成员数量:
2
简单同族被引用专利总数:
0
诉讼案件数:
0
法律状态/事件:
授权