首页
专利数据库
产业人才
行业动态
产业政策法规
维权援助
个人中心
登录/注册
详情
文本
图像
标题:
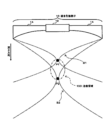
超音波測定装置および超音波治療システム
授权日:
1900-01-01
公开(公告)号:
JP2012016430A
申请日:
2010-07-07
公开(公告)日:
2012-01-26
当前申请(专利权)人:
日立アロカメディカル株式会社
发明人:
射谷 和徳
简单同族:
JP2012016430A | JP5520150B2
简单同族成员数量:
2
简单同族被引用专利总数:
0
诉讼案件数:
0
法律状态/事件:
未缴年费 | 权利转移