首页
专利数据库
产业人才
行业动态
产业政策法规
维权援助
个人中心
登录/注册
详情
文本
图像
标题:
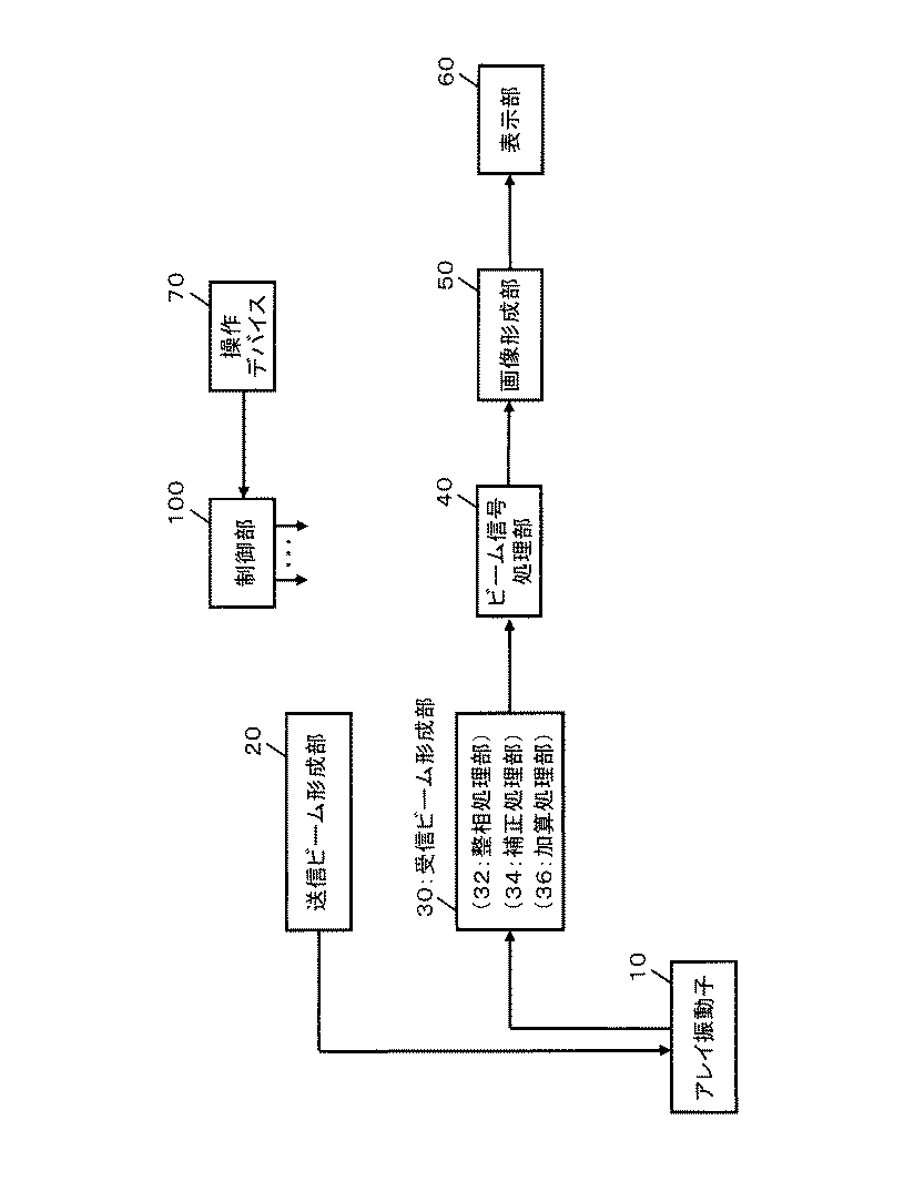
超音波診断装置
授权日:
1900-01-01
公开(公告)号:
JP2017209316A
申请日:
2016-05-26
公开(公告)日:
2017-11-30
当前申请(专利权)人:
株式会社日立製作所
发明人:
隈▲崎▼ 健二 | 栗原 浩
简单同族:
JP2017209316A | JP6182241B1 | WO2017203891A1
简单同族成员数量:
3
简单同族被引用专利总数:
0
诉讼案件数:
0
法律状态/事件:
授权