首页
专利数据库
产业人才
行业动态
产业政策法规
维权援助
个人中心
登录/注册
详情
文本
图像
标题:
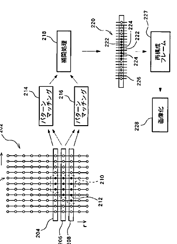
超音波画像処理装置
授权日:
1900-01-01
公开(公告)号:
JP2012105751A
申请日:
2010-11-16
公开(公告)日:
2012-06-07
当前申请(专利权)人:
日立アロカメディカル株式会社
发明人:
村下 賢
简单同族:
CN102462509A | CN102462509B | EP2453406A1 | EP2453406B1 | JP2012105751A | JP5587743B2 | US20120121150A1 | US9569818
简单同族成员数量:
8
简单同族被引用专利总数:
38
诉讼案件数:
0
法律状态/事件:
未缴年费 | 权利转移