首页
专利数据库
产业人才
行业动态
产业政策法规
维权援助
个人中心
登录/注册
详情
文本
图像
标题:
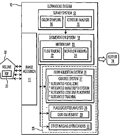
撮像システム内で流れ領域を識別するセグメンテーション·ツール
授权日:
1900-01-01
公开(公告)号:
JP2006507883A
申请日:
2003-11-13
公开(公告)日:
2006-03-09
当前申请(专利权)人:
コーニンクレッカ フィリップス エレクトロニクス エヌ ヴィ
发明人:
ラウンドヒル,デイヴィッド エヌ | ピーターソン,ロイ ビー
简单同族:
AU2003276629A1 | CN1720464A | EP1579244A1 | EP1579244B1 | JP2006507883A | US20060098853A1 | US8094893 | WO2004051310A1
简单同族成员数量:
8
简单同族被引用专利总数:
56
诉讼案件数:
0
法律状态/事件:
撤回