首页
专利数据库
产业人才
行业动态
产业政策法规
维权援助
个人中心
登录/注册
详情
文本
图像
标题:
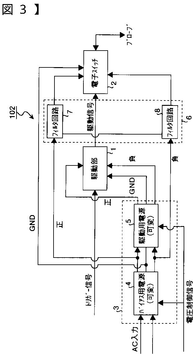
超音波診断装置
授权日:
2007-10-19
公开(公告)号:
JP4028692B2
申请日:
2001-04-05
公开(公告)日:
2007-12-26
当前申请(专利权)人:
ジーイー·メディカル·システムズ·グローバル·テクノロジー·カンパニー·エルエルシー
发明人:
雨宮 慎一
简单同族:
CN1223310C | CN1378821A | JP2002306475A | JP4028692B2 | KR100876720B1 | KR1020020079454A | US20020165452A1 | US6752761
简单同族成员数量:
8
简单同族被引用专利总数:
31
诉讼案件数:
0
法律状态/事件:
未缴年费