首页
专利数据库
产业人才
行业动态
产业政策法规
维权援助
个人中心
登录/注册
详情
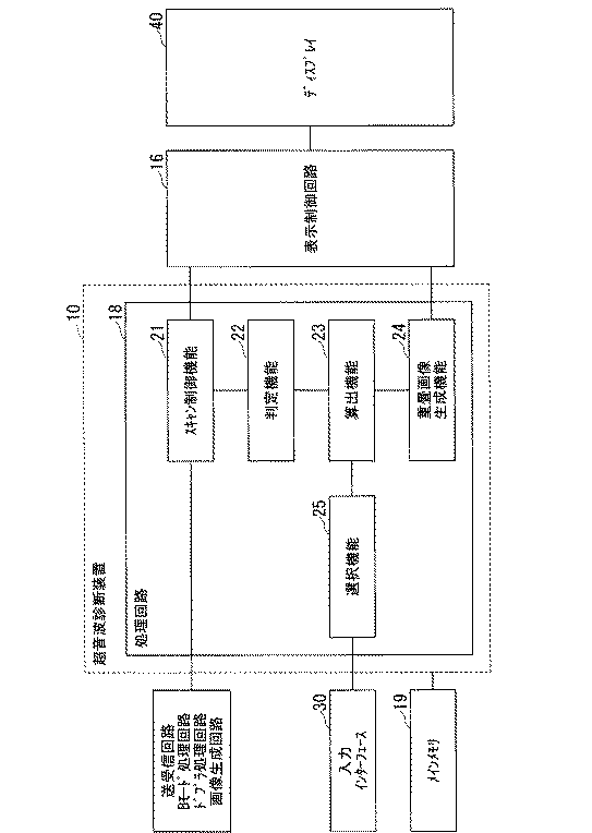
文本
图像
标题:
超音波診断装置及び推定胎児体重表示プログラム
授权日:
1900-01-01
公开(公告)号:
JP2019201731A
申请日:
2018-05-21
公开(公告)日:
2019-11-28
当前申请(专利权)人:
キヤノンメディカルシステムズ株式会社
发明人:
鈴木 智子 | 大嶋 康典 | 高松 勝幸 | 村松 拓
简单同族:
JP2019201731A
简单同族成员数量:
1
简单同族被引用专利总数:
0
诉讼案件数:
0
法律状态/事件:
公开