首页
专利数据库
产业人才
行业动态
产业政策法规
维权援助
个人中心
登录/注册
详情
文本
图像
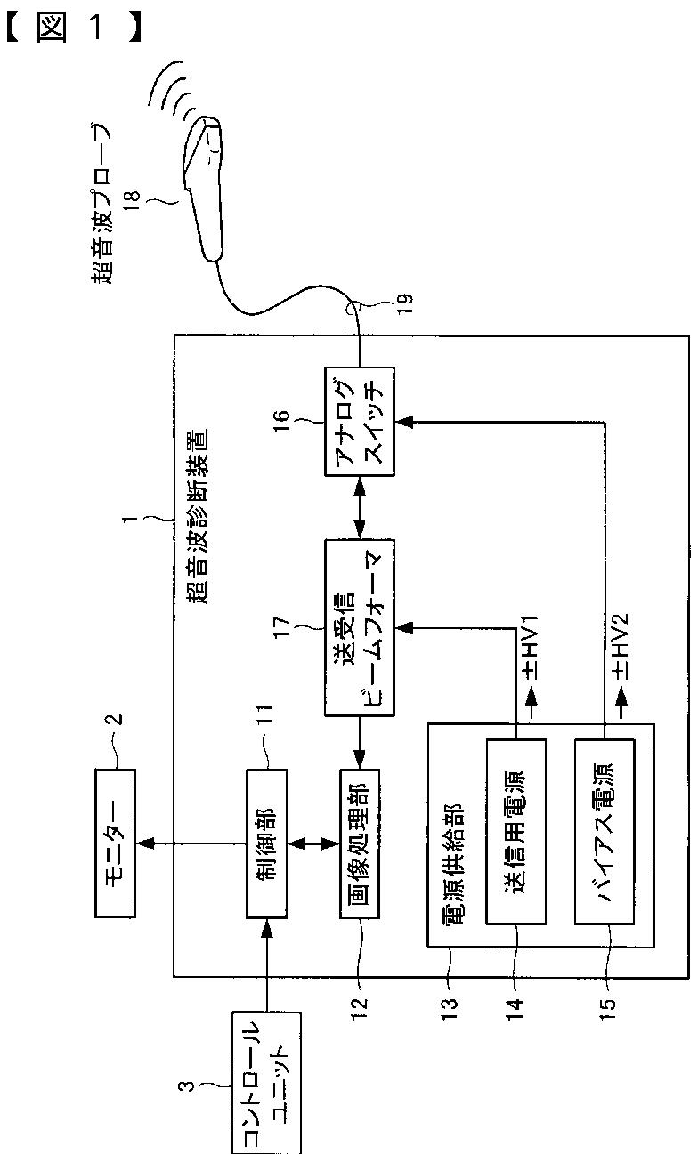
标题:
超音波診断装置
授权日:
2007-06-01
公开(公告)号:
JP3964334B2
申请日:
2003-02-06
公开(公告)日:
2007-08-22
当前申请(专利权)人:
ジーイー·メディカル·システムズ·グローバル·テクノロジー·カンパニー·エルエルシー
发明人:
雨宮 慎一
简单同族:
CN1298288C | CN1518958A | DE602004016067D1 | EP1445624A2 | EP1445624A3 | EP1445624B1 | JP2004236869A | JP3964334B2 | KR101131677B1 | KR1020040071632A | US20040158148A1 | US7351204
简单同族成员数量:
12
简单同族被引用专利总数:
45
诉讼案件数:
0
法律状态/事件:
未缴年费