首页
专利数据库
产业人才
行业动态
产业政策法规
维权援助
个人中心
登录/注册
详情
文本
图像
标题:
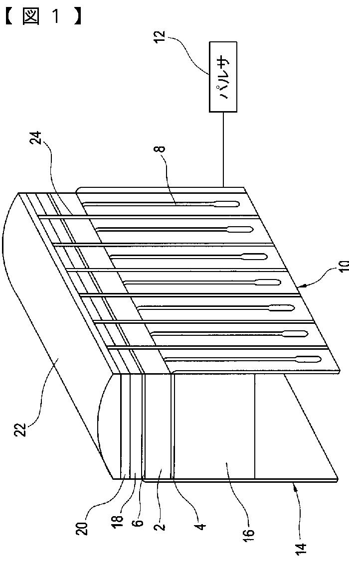
イメージング·システムの分解能を高める超音波トランスデューサ
授权日:
2007-04-27
公开(公告)号:
JP3950755B2
申请日:
2002-07-05
公开(公告)日:
2007-08-01
当前申请(专利权)人:
ゼネラル·エレクトリック·カンパニイ
发明人:
ロウェル·スコット·スミス | ニム·ハク·ティー | セオドア·ラウア·ライネ | シュワン-ミン·ルー
简单同族:
DE10230129A1 | JP2003125494A | JP2003125494A5 | JP3950755B2 | US20030032884A1 | US6666825
简单同族成员数量:
6
简单同族被引用专利总数:
101
诉讼案件数:
0
法律状态/事件:
未缴年费