首页
专利数据库
产业人才
行业动态
产业政策法规
维权援助
个人中心
登录/注册
详情
文本
图像
标题:
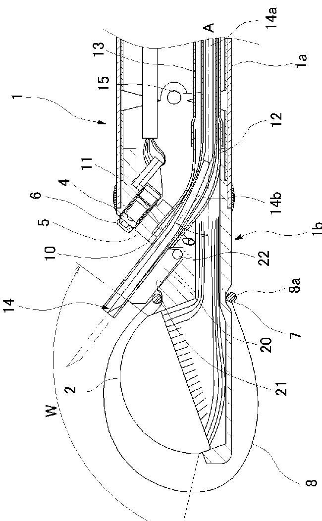
超音波内視鏡
授权日:
2011-12-16
公开(公告)号:
JP4884046B2
申请日:
2006-03-22
公开(公告)日:
2012-02-22
当前申请(专利权)人:
富士フイルム株式会社
发明人:
河野 慎一
简单同族:
AT524112T | EP1836966A1 | EP1836966B1 | JP2007252458A | JP4884046B2 | US20070249940A1 | US8177717
简单同族成员数量:
7
简单同族被引用专利总数:
24
诉讼案件数:
0
法律状态/事件:
未缴年费 | 权利转移