首页
专利数据库
产业人才
行业动态
产业政策法规
维权援助
个人中心
登录/注册
详情
文本
图像
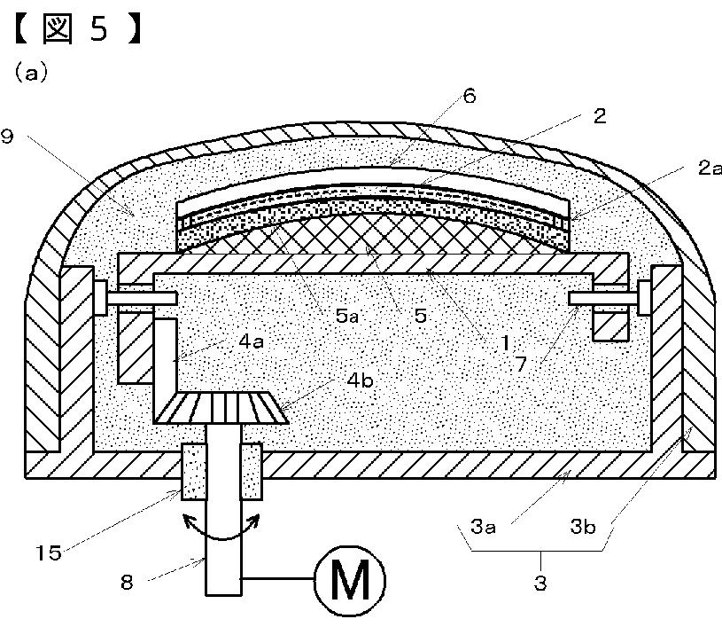
标题:
超音波探触子
授权日:
2012-09-14
公开(公告)号:
JP5084270B2
申请日:
2007-01-06
公开(公告)日:
2012-11-28
当前申请(专利权)人:
日本電波工業株式会社
发明人:
長谷川 恭伸 | 滝 邦久
简单同族:
JP2008080093A | JP5084270B2 | US20090177088A1 | WO2008026332A1
简单同族成员数量:
4
简单同族被引用专利总数:
24
诉讼案件数:
0
法律状态/事件:
未缴年费