首页
专利数据库
产业人才
行业动态
产业政策法规
维权援助
个人中心
登录/注册
详情
文本
图像
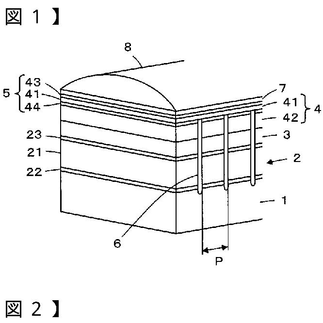
标题:
超音波探触子
授权日:
2016-10-28
公开(公告)号:
JP6029731B2
申请日:
2015-10-30
公开(公告)日:
2016-11-24
当前申请(专利权)人:
富士フイルム株式会社
发明人:
和田 隆亜 | 大澤 敦 | 山本 勝也
简单同族:
JP2016052531A | JP6029731B2
简单同族成员数量:
2
简单同族被引用专利总数:
0
诉讼案件数:
0
法律状态/事件:
授权