首页
专利数据库
产业人才
行业动态
产业政策法规
维权援助
个人中心
登录/注册
详情
文本
图像
标题:
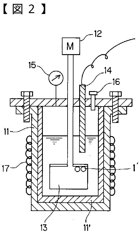
カテーテル型超音波照射装置
授权日:
2009-07-24
公开(公告)号:
JP4344794B2
申请日:
2003-12-03
公开(公告)日:
2009-10-14
当前申请(专利权)人:
学校法人桐蔭学園
发明人:
竹内 真一 | 鈴木 崇洋 | 桂 尚樹 | 佐藤 敏夫 | 川島 徳道 | 石河 睦生 | 黒澤 実 | 大平 悦三
简单同族:
JP2005160823A | JP4344794B2
简单同族成员数量:
2
简单同族被引用专利总数:
0
诉讼案件数:
0
法律状态/事件:
未缴年费