首页
专利数据库
产业人才
行业动态
产业政策法规
维权援助
个人中心
登录/注册
详情
文本
图像
标题:
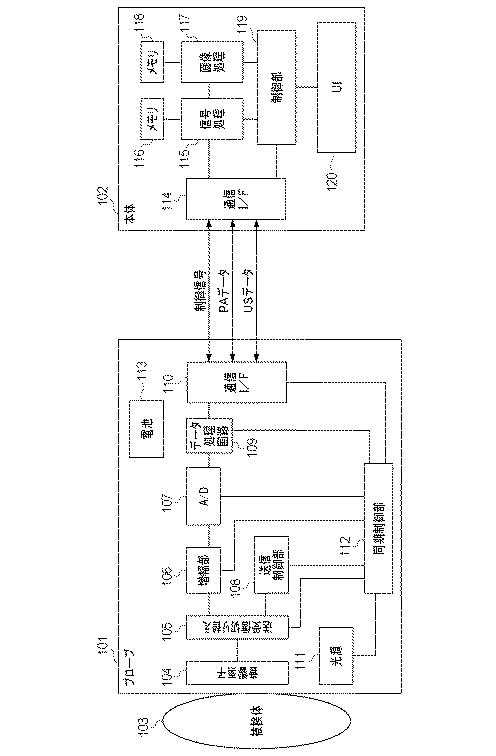
超音波プローブ、及びそれを備えた光音響装置
授权日:
1900-01-01
公开(公告)号:
JP2019041831A
申请日:
2017-08-30
公开(公告)日:
2019-03-22
当前申请(专利权)人:
キヤノン株式会社
发明人:
鈴木 紘一 | 阿部 直人
简单同族:
CN109419532A | EP3449817A1 | JP2019041831A | US20190059738A1
简单同族成员数量:
4
简单同族被引用专利总数:
0
诉讼案件数:
0
法律状态/事件:
公开