首页
专利数据库
产业人才
行业动态
产业政策法规
维权援助
个人中心
登录/注册
详情
文本
图像
标题:
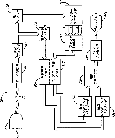
超音波血流撮像及び体積流量計算のための方法及びシステム
授权日:
1900-01-01
公开(公告)号:
JP2003220060A
申请日:
2002-12-16
公开(公告)日:
2003-08-05
当前申请(专利权)人:
コーニンクレッカ フィリップス エレクトロニクス エヌ ヴィ
发明人:
シアン-ニン リ
简单同族:
JP2003220060A | US20030114756A1 | US6780155
简单同族成员数量:
3
简单同族被引用专利总数:
90
诉讼案件数:
0
法律状态/事件:
驳回