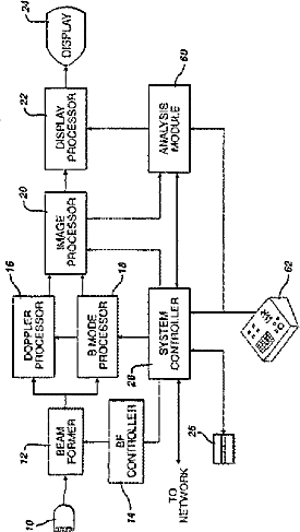
标题:
カスタマイズ測定及び計算を具える超音波診断イメージングシステム
授权日:
1900-01-01
公开(公告)号:
JP2003510145A
申请日:
2000-09-15
公开(公告)日:
2003-03-18
当前申请(专利权)人:
コーニンクレッカ フィリップス エレクトロニクス エヌ ヴィ
发明人:
ミハル コールマン | ジャッキー ベー ロー | ハイユアン ルー | イェッセ デー ジョーンズ
简单同族:
DE60045836D1 | EP1141745A1 | EP1141745B1 | JP2003510145A | JP2012061353A | JP4943610B2 | JP5536025B2 | US6306089 | WO2001023905A1
简单同族成员数量:
9
简单同族被引用专利总数:
109
诉讼案件数:
0
法律状态/事件:
授权