首页
专利数据库
产业人才
行业动态
产业政策法规
维权援助
个人中心
登录/注册
详情
文本
图像
标题:
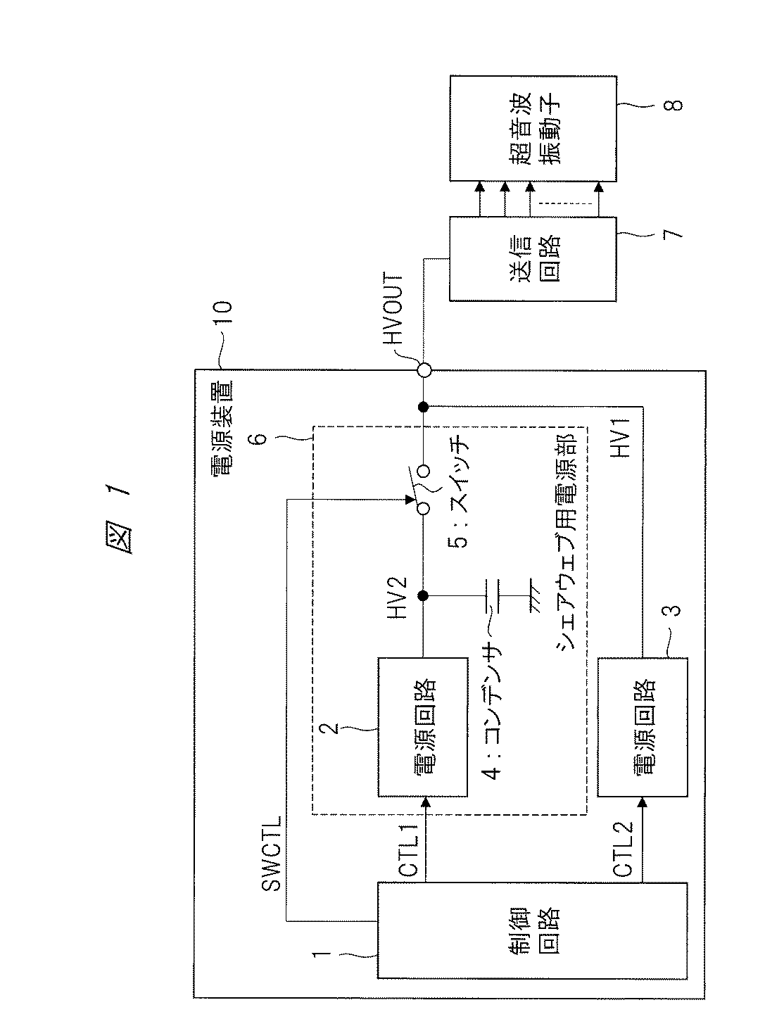
電源装置および超音波診断装置
授权日:
1900-01-01
公开(公告)号:
JP2018191798A
申请日:
2017-05-15
公开(公告)日:
2018-12-06
当前申请(专利权)人:
株式会社日立製作所
发明人:
矢崎 徹 | 神原 宏介
简单同族:
JP2018191798A
简单同族成员数量:
1
简单同族被引用专利总数:
0
诉讼案件数:
0
法律状态/事件:
实质审查