首页
专利数据库
产业人才
行业动态
产业政策法规
维权援助
个人中心
登录/注册
详情
文本
图像
标题:
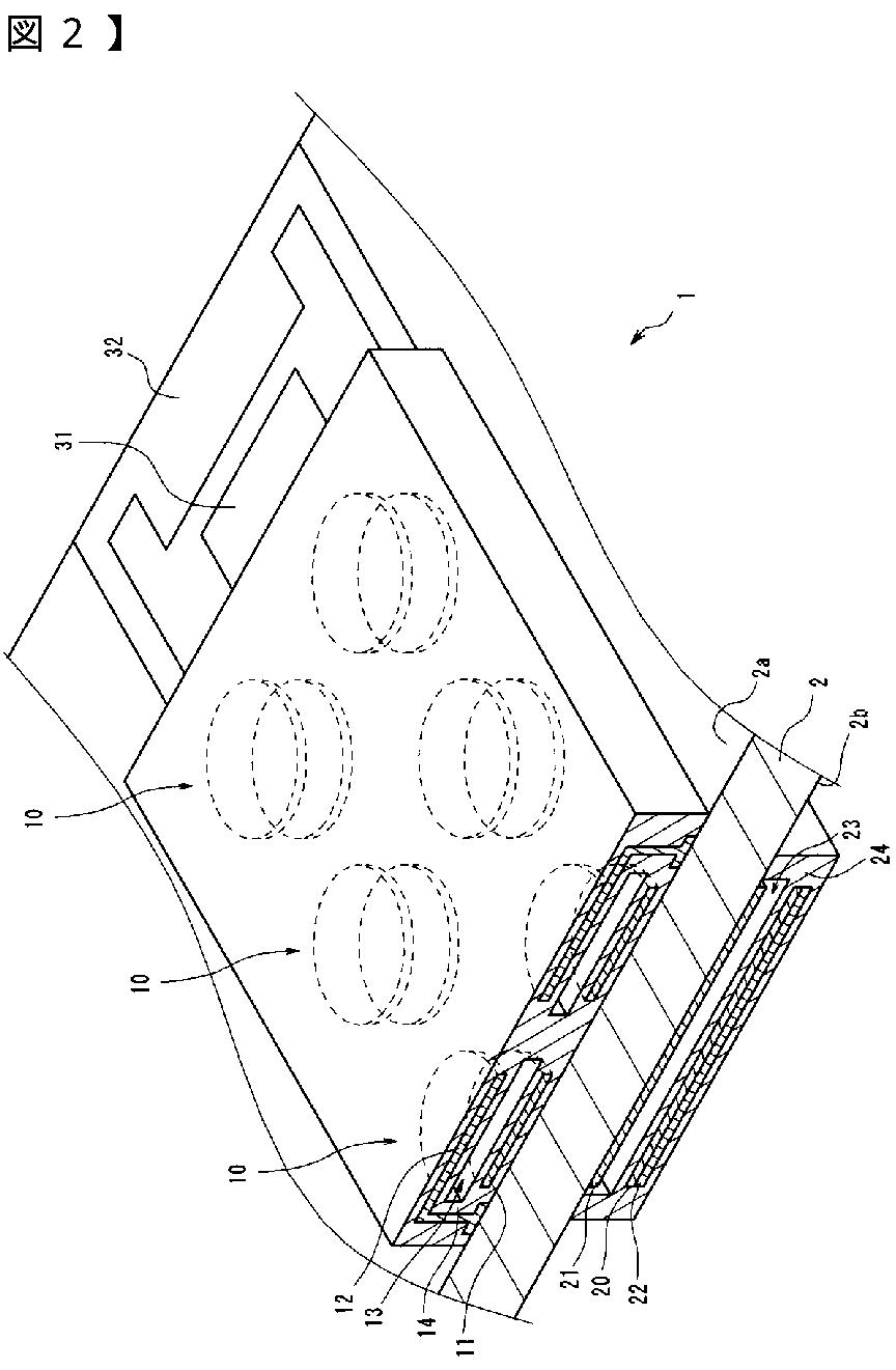
超音波トランスデューサ及び電子機器
授权日:
2010-09-24
公开(公告)号:
JP4594995B2
申请日:
2008-04-16
公开(公告)日:
2010-12-08
当前申请(专利权)人:
オリンパスメディカルシステムズ株式会社
发明人:
若林 勝裕 | 安達 日出夫 | 長谷川 守 | 松本 一哉 | 神谷 宜孝 | 唐木 和久
简单同族:
CN101559420A | CN101559420B | EP2110186A1 | EP2110186B1 | JP2009254572A | JP4594995B2 | US20090262605A1 | US8026651
简单同族成员数量:
8
简单同族被引用专利总数:
33
诉讼案件数:
0
法律状态/事件:
授权 | 权利转移