首页
专利数据库
产业人才
行业动态
产业政策法规
维权援助
个人中心
登录/注册
详情
文本
图像
标题:
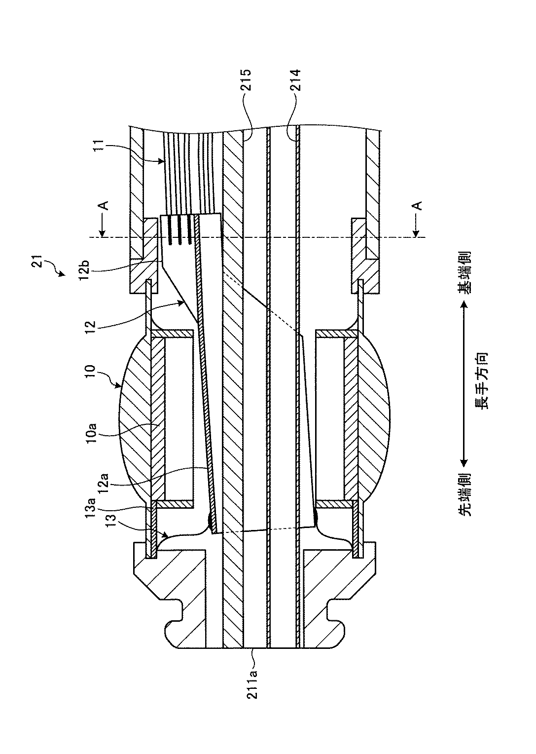
超音波内視鏡および超音波内視鏡の製造方法
授权日:
1900-01-01
公开(公告)号:
JP2019000475A
申请日:
2017-06-16
公开(公告)日:
2019-01-10
当前申请(专利权)人:
オリンパス株式会社
发明人:
佐藤 直
简单同族:
JP2019000475A | WO2018230416A1
简单同族成员数量:
2
简单同族被引用专利总数:
0
诉讼案件数:
0
法律状态/事件:
实质审查