首页
专利数据库
产业人才
行业动态
产业政策法规
维权援助
个人中心
登录/注册
详情
文本
图像
标题:
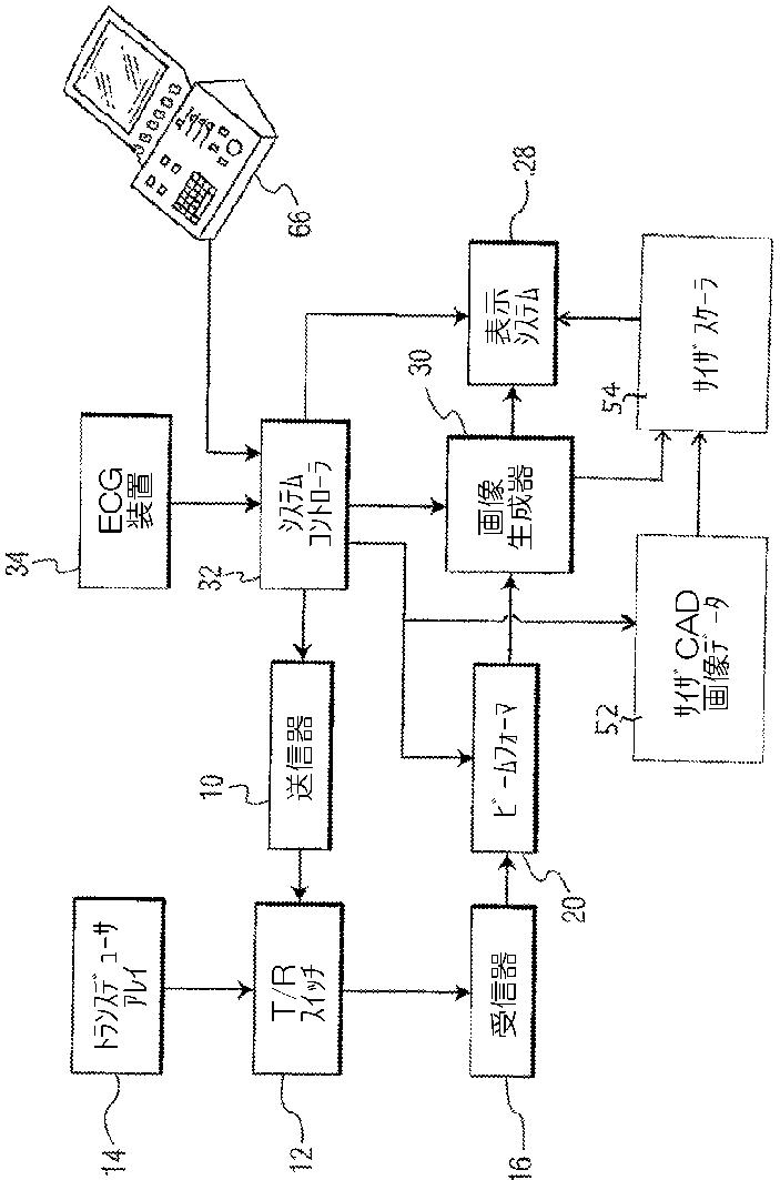
埋め込み可能な医療装置の超音波計画及びガイド
授权日:
2015-02-27
公开(公告)号:
JP5701857B2
申请日:
2010-04-23
公开(公告)日:
2015-04-15
当前申请(专利权)人:
コーニンクレッカ フィリップス エヌ ヴェ
发明人:
ビアンキ マリー カイ | サルゴ イヴァン
简单同族:
BRPI1007132A2 | CN102438551A | EP2427142A1 | EP2427142B1 | JP2012525919A | JP5701857B2 | RU2011149772A | RU2542378C2 | US20120053466A1 | WO2010129193A1
简单同族成员数量:
10
简单同族被引用专利总数:
26
诉讼案件数:
0
法律状态/事件:
授权