首页
专利数据库
产业人才
行业动态
产业政策法规
维权援助
个人中心
登录/注册
详情
文本
图像
标题:
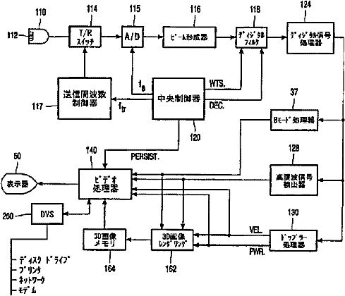
ディジタルビデオレコーダを備えた超音波診断撮像システム
授权日:
1900-01-01
公开(公告)号:
JP2002538863A
申请日:
2000-02-14
公开(公告)日:
2002-11-19
当前申请(专利权)人:
コーニンクレッカ フィリップス エレクトロニクス エヌ ヴィ
发明人:
ネグリン アイルブ ディー | リッチボールグ ジャック エッチ
简单同族:
EP1078534A1 | JP2002538863A | US6231510 | WO2000054517A1
简单同族成员数量:
4
简单同族被引用专利总数:
50
诉讼案件数:
0
法律状态/事件:
撤回