首页
专利数据库
产业人才
行业动态
产业政策法规
维权援助
个人中心
登录/注册
详情
文本
图像
标题:
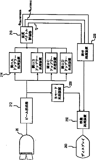
三次元ドップラー超音波撮像システム及び方法
授权日:
1900-01-01
公开(公告)号:
JP2003164453A
申请日:
2002-11-25
公开(公告)日:
2003-06-10
当前申请(专利权)人:
コーニンクレッカ フィリップス エレクトロニクス エヌ ヴィ
发明人:
アリネ ロール クリトン | ヘレン フランシス ルース
简单同族:
JP2003164453A | US20030100832A1 | US6589179
简单同族成员数量:
3
简单同族被引用专利总数:
59
诉讼案件数:
0
法律状态/事件:
驳回