首页
专利数据库
产业人才
行业动态
产业政策法规
维权援助
个人中心
登录/注册
详情
文本
图像
标题:
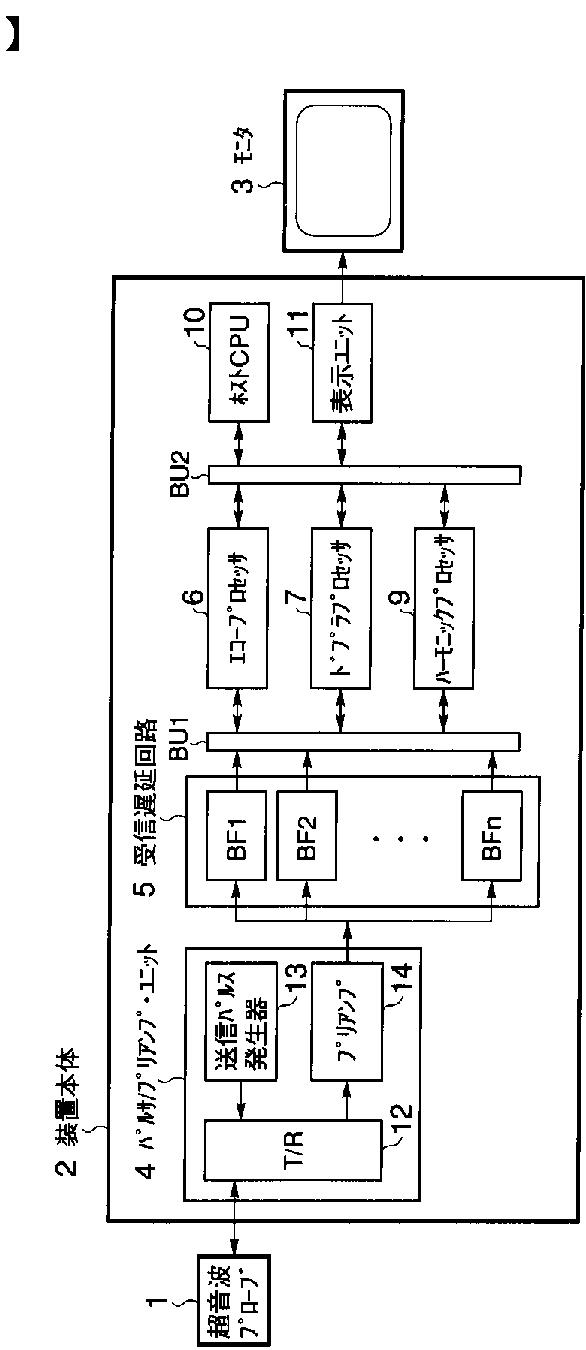
超音波診断装置
授权日:
2010-08-13
公开(公告)号:
JP4567842B2
申请日:
2000-04-10
公开(公告)日:
2010-10-20
当前申请(专利权)人:
株式会社東芝
发明人:
川岸 哲也 | 神田 良一 | 嶺 喜隆
简单同族:
JP2001286472A | JP4567842B2 | US20010034485A1 | US6506158
简单同族成员数量:
4
简单同族被引用专利总数:
69
诉讼案件数:
0
法律状态/事件:
期限届满 | 权利转移