首页
专利数据库
产业人才
行业动态
产业政策法规
维权援助
个人中心
登录/注册
详情
文本
图像
标题:
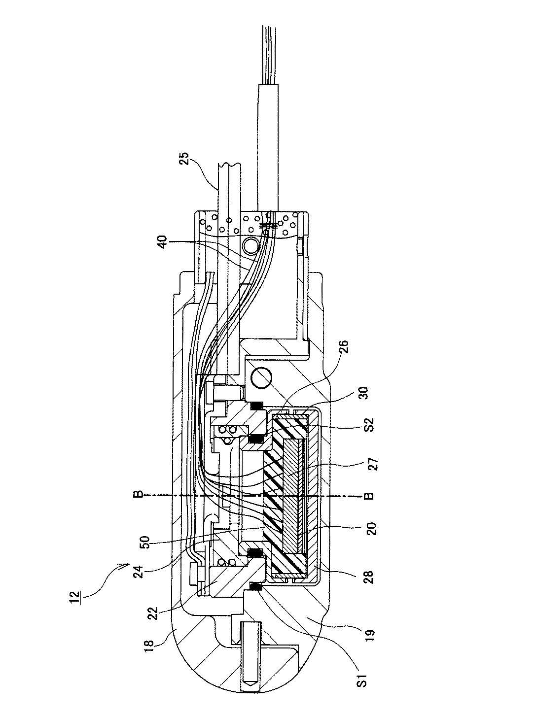
超音波探触子
授权日:
1900-01-01
公开(公告)号:
JP2016189941A
申请日:
2015-03-31
公开(公告)日:
2016-11-10
当前申请(专利权)人:
株式会社日立製作所
发明人:
岩下 貴之 | 獨古 修一 | 蛭川 盛之
简单同族:
JP2016189941A
简单同族成员数量:
1
简单同族被引用专利总数:
0
诉讼案件数:
0
法律状态/事件:
撤回 | 权利转移