首页
专利数据库
产业人才
行业动态
产业政策法规
维权援助
个人中心
登录/注册
详情
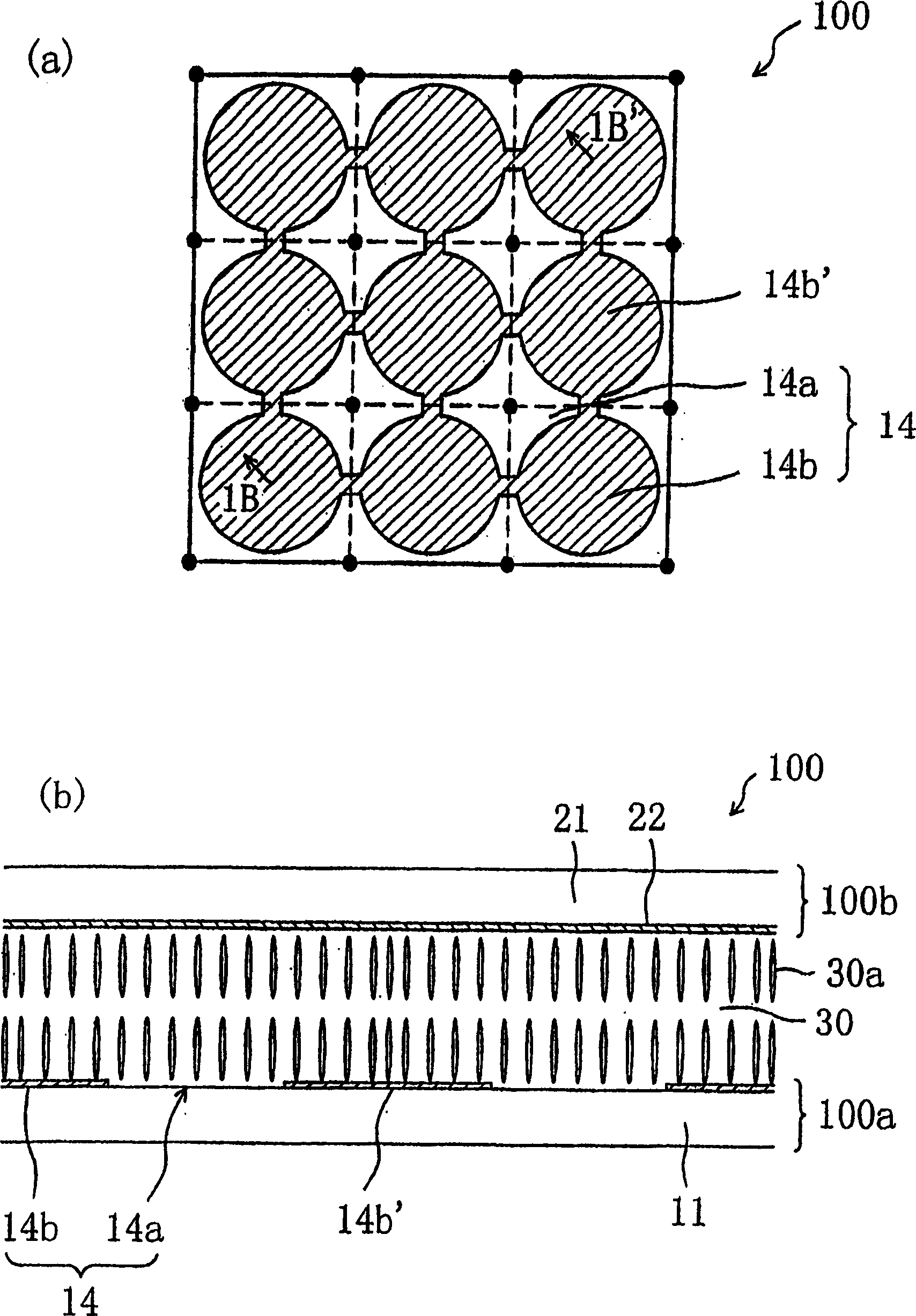
文本
图像
标题:
液晶显示装置
授权日:
1900-01-01
公开(公告)号:
CN1806195A
申请日:
2004-06-09
公开(公告)日:
2006-07-19
当前申请(专利权)人:
夏普株式会社
发明人:
久保真澄 | 山本明弘
简单同族:
CN100445842C | CN1806195A | JP2005003916A | JP3642489B2 | KR100767946B1 | KR1020060024404A | TW200513717A | TWI288843B | US20060158574A1 | US20100309400A1 | US7791676 | US8031280 | WO2004111715A1
简单同族成员数量:
13
简单同族被引用专利总数:
66
诉讼案件数:
0
法律状态/事件:
授权