首页
专利数据库
产业人才
行业动态
产业政策法规
维权援助
个人中心
登录/注册
详情
文本
图像
标题:
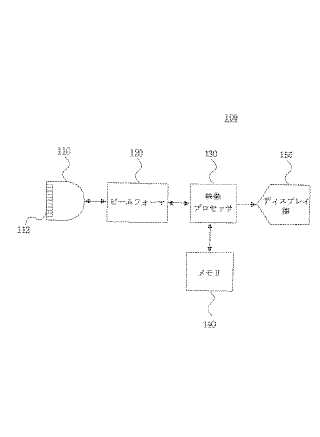
カラーフロー映像をディスプレイする方法及び超音波診断システム
授权日:
1900-01-01
公开(公告)号:
JP2007007402A
申请日:
2006-06-27
公开(公告)日:
2007-01-18
当前申请(专利权)人:
株式会社 メディソン
发明人:
ヒョン ドン ギュ
简单同族:
DE602006011823D1 | EP1739627A1 | EP1739627B1 | JP2007007402A | KR100825054B1 | KR1020070000565A | US20070038104A1 | US7621872
简单同族成员数量:
8
简单同族被引用专利总数:
23
诉讼案件数:
0
法律状态/事件:
驳回