首页
专利数据库
产业人才
行业动态
产业政策法规
维权援助
个人中心
登录/注册
详情
文本
图像
标题:
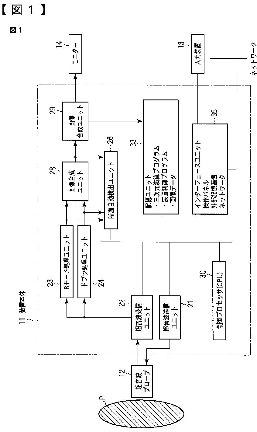
超音波診断装置、超音波画像処理装置及び超音波画像処理プログラム
授权日:
2014-08-01
公开(公告)号:
JP5586203B2
申请日:
2009-10-08
公开(公告)日:
2014-09-10
当前申请(专利权)人:
株式会社東芝 | 東芝メディカルシステムズ株式会社
发明人:
大内 啓之 | 阿部 康彦 | 橋本 新一 | 西浦 正英
简单同族:
CN102028498A | CN102028498B | JP2011078625A | JP5586203B2 | US20110087094A1
简单同族成员数量:
5
简单同族被引用专利总数:
27
诉讼案件数:
0
法律状态/事件:
授权 | 权利转移