首页
专利数据库
产业人才
行业动态
产业政策法规
维权援助
个人中心
登录/注册
详情
文本
图像
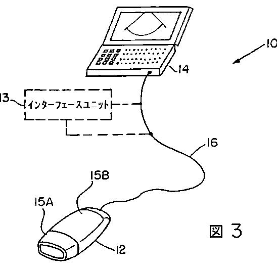
标题:
携帯式超音波撮像システム
授权日:
1900-01-01
公开(公告)号:
JP2007325937A
申请日:
2007-07-09
公开(公告)日:
2007-12-20
当前申请(专利权)人:
テラテク·コーポレーシヨン
发明人:
アリス·エム·チアング | スチーブン·アール·ブロードストーン
简单同族:
AU1996063446A1 | AU700274B | AU700274B2 | CA2225622A1 | EP0835458A2 | JP1999508461A | JP1999508461A5 | JP2007325937A | TW381226B | WO1997001768A2 | WO1997001768A3
简单同族成员数量:
11
简单同族被引用专利总数:
99
诉讼案件数:
0
法律状态/事件:
实质审查